设为首页
加入收藏
首页
协会概况
领导之窗
协会简介
协会章程
监事会工作规则
组织机构
各地机构
协会大事记
新闻中心
协会动态
各地简讯
业内动态
媒体视角
互保人物
福渔事迹
党群工作
党员园地
工会园地
青年园地
妇女园地
办事指南
文件下载
理赔快讯
我要参保
我要理赔
公告公示
人事信息
招考招聘
人事任免
奖励表彰
教育培训
职称评审
政策法规
法律法规
法规解读
政策资讯
互保介绍
业务条款
互保常识
团险介绍
专业杂志
交流信息
防灾减灾
工作交流
理赔案例
联系我们
联系方式
秘书长信箱
发布时间:
--不限--
一周以内
一个月内
三个月内
半年以内
检索关键词:
检索标题
智能模糊
搜索
栏目列表
文件下载
理赔快讯
我要参保
我要理赔
公告公示
当前位置:
首页
>
办事指南
>
公告公示
>
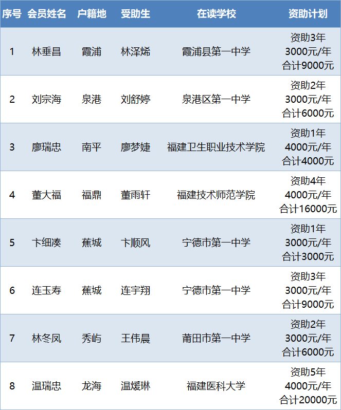
2022年“扬帆”助学活动受助生公示表
时间:
2022-09-20 17:10:23
作者:
责编:
点击:
8209 次
上一篇 >
关于招标代理机构公开遴选的公告
下一篇 >
关于招标代理机构公开遴选的公告